闪蒸罐的作用和原理,闪蒸罐工作原理图解
闪蒸罐的作用和原理,闪蒸罐工作原理图解
本文目录
1. 2.闪蒸的原理是什么 3.低温闪蒸技术 4.闪蒸原理是什么的对应关系

闪蒸的原理是什么
闪蒸原理
闪蒸和蒸馏不同,在闪蒸过程中没有热量加入。 其原理很简单,物质的沸点是随压力增大而升高,那么是不是压力越低,沸点就越低呢。 那好,这样就可以让高压高温流体经过减压,使其沸点降低,进入闪蒸罐。这时,流体温度高于该压力下的沸点。 流体在闪蒸罐中迅速沸腾汽化,并进行两相分离。 使流体达到气化的设备不是闪蒸罐,而是减压阀。 闪蒸罐的作用是提供流体迅速气化和汽液分离的空间。 可以看出闪蒸也是有代价的,就是牺牲压力能量。 一句话,闪蒸就是通过减压,是流体沸腾,而产生汽液两项。建立一个新的压力等级下的汽液平衡。多用于纯物质。
闪蒸, "FLASHING", 确实是从减压导致的汽液分离现象引申出的形象词汇,不过其严格定义适用的范围远不止此. 比较严格的定义是从一个热力学平衡态到下一个热力学平衡态变化的计算. 因此, 如果两个热力学状态的变化只有压力的降低, 并无内外功的交换和热的交换。
根据亨利定律P=EX,不同温度与分压下气相溶质在液相溶剂中溶解度不同。当溶剂压力降低时,溶剂中的溶质就会迅速地解吸而自动放出,形成闪蒸。闪蒸的能量由溶剂本身提供,故闪蒸过程中溶剂温度有所下降。从较高的一定压力到较低的一定压力,达到解吸平衡时解吸的溶质量是一定的,对应溶剂中剩余的溶质量也是一定的。所以闪蒸的控制目标只有一个,那就是闪蒸的压力
亨利定律亨利定律Henry's law
物理化学的基本定律之一,是英国的W.亨利在1803年研究气体在液体中的溶解度规律时发现的,可表述为:"在一定温度下,某种气体在溶液中的 浓度与液面上该气体的平衡压力成正比。"实验表明,只有当气体在液体中的溶解度不很高时该定律才是正确的,此时的气体实际上是稀溶液中的挥发性溶质,气体压力则是溶质的蒸气压。所以亨利定律还可表述为:在一定温度下,稀薄溶液中溶质的蒸气分压与溶液浓度成正比: pB=kxB
式中pB是稀薄溶液中溶质的蒸气分压[1];xB是溶质的物质的量分数; k为亨利常数,其值与温度、压力以及溶质和溶剂的本性有关。由于在稀薄溶液中各种浓度成正比,所以上式中的xB还可以是mB(质量摩尔浓度)或cB(物质的量浓度)等,此时的k值将随之变化。
只有溶质在气相中和液相中的分子状态相同时,亨利定律才能适用。若溶质分子在溶液中有离解、缔合等,则上式中的xB(或mB、cB等)应是指与气相中分子状态相同的那一部分的含量;在总压力不大时,
若多种气体同时溶于同一个液体中,亨利定律可分别适用于其中的任一种气体;一般来说,溶液越稀,亨利定律愈准确,在xB→0时溶质能严格服从定律。
原理:主要是利用加压后,蒸汽分压下降,使更多的溶剂(一般是水)闪蒸为气态,达到浓缩的目的。
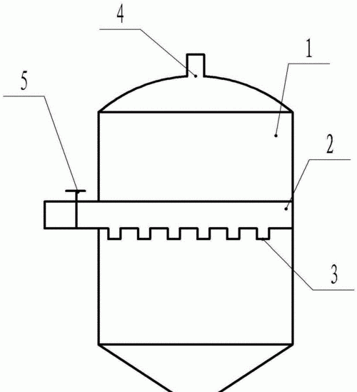
结构:很简单。直径要大一点,有点像旋风分离器。当然要保持一定的高度,不然液体也出去了。
闪蒸就是高压的饱和水进入比较低压的容器中后由于压力的突然降低使这些饱和水变成一部分的容器压力下的饱和水蒸气和饱和水。
形成原因:
当水在大气压力下被加热时,100℃是该压力下液体水所能允许的最高温度。再加热也不能提高水的温度,而只能将水转化成蒸汽。水在升温至沸点前的过程中吸收的热叫"显热",或者叫饱和水显热。在同样大气压力下将饱和水转化成蒸汽所需要的热叫"潜热"。然而,如果在一定压力下加热水,那么水的沸点就要比100℃高,所以就要求有更多的显热。压力越高,水的沸点就高,热含量亦越高。压力降低,部分显热释放出来,这部分超量热就会以潜热的形式被吸收,引起部分水被"闪蒸"成蒸汽。
实际情况:
闪蒸在管道系统中出现,容易对阀门产生汽蚀损坏,可以选择反汽蚀高压阀,其特点是多次节流分摊压差,也可以选用耐汽蚀冲刷材料。
闪蒸也可以作为能源,被利用在热力发电厂中锅炉排水的回收和地热发电中。
闪蒸还要注意闪蒸蒸汽
什么是闪蒸蒸汽?
当一定压力下的热凝结水或锅炉水被降压,部分水会二次蒸发,所得到的蒸汽即为闪蒸蒸汽。
为什么闪蒸蒸汽很重要?
因为它包含可以使工厂经济运行的热量,不利用它,能源就会白白浪费。
闪蒸蒸汽是怎样形成的?
当水在大气压力下被加热时,100℃是该压力下液体水所能允许的最高温度。再加热也不能提高水的温度,而只能将水转化成蒸汽。水在升温至沸点前的过程中吸收的热叫"显热",或者叫饱和水显热。在同样大气压力下将饱和水转化成蒸汽所需要的热叫"潜热"。然而,如果在一定压力下加热水,那么水的沸点就要比100℃高,所以就要求有更多的显热。压力越高,水的沸点就高,热含量亦越高。压力降低,部分显热释放出来,这部分超量热就会以潜热的形式被吸收,引起部分水被"闪蒸"成蒸汽。
闪蒸还有其较好的应用价值的,比如闪蒸冷凝技术:
抽真空,降低沸点,在低于100°下沸腾,然后去除冷凝水。
好处是物料不被高温破坏,一般用于食品及药品。
工作原理:.利用液体混合物中各组分(component)挥发性(volatility). 差异,以热能为媒介使其部分汽化从而在汽相富集轻组分液相富. 集重组分而分离的方法。

低温闪蒸技术
闪蒸就是高压的饱和液体进入比较低压的容器中后由于压力的突然降低使这些饱和液体变成一部分的容器压力下的饱和蒸汽和饱和液。
现象:
物质的沸点是随压力增大而升高,而压力越低,沸点就越低。 这样就可以让高压高温流体经过减压,使其沸点降低,进入闪蒸罐。这时,流体温度高于该压力下的沸点。 流体在闪蒸罐中迅速沸腾汽化,并进行两相分离。 使流体达到气化的设备不是闪蒸罐,而是减压阀。 闪蒸罐的作用是提供流体迅速气化和汽液分离的空间。
形成原因:
当水在大气压力下被加热时,100℃是该压力下液体水所能允许的最高温度。再加热也不能提高水的温度,而只能将水转化成蒸汽。水在升温至沸点前的过程中吸收的热叫“显热”,或者叫饱和水显热。在同样大气压力下将饱和水转化成蒸汽所需要的热叫“潜热”。然而,如果在一定压力下加热水,那么水的沸点就要比100℃高,所以就要求有更多的显热。压力越高,水的沸点就高,热含量亦越高。压力降低,部分显热释放出来,这部分超量热就会以潜热的形式被吸收,引起部分水被“闪蒸”成蒸汽。

闪蒸原理是什么的对应关系
闪蒸原理
闪蒸和蒸馏不同,在闪蒸过程中没有热量加入。 其原理很简单,物质的沸点是随压力增大而升高,那么是不是压力越低,沸点就越低呢。 那好,这样就可以让高压高温流体经过减压,使其沸点降低,进入闪蒸罐。这时,流体温度高于该压力下的沸点。 流体在闪蒸罐中迅速沸腾汽化,并进行两相分离。 使流体达到气化的设备不是闪蒸罐,而是减压阀。 闪蒸罐的作用是提供流体迅速气化和汽液分离的空间。 可以看出闪蒸也是有代价的,就是牺牲压力能量。 一句话,闪蒸就是通过减压,是流体沸腾,而产生汽液两项。建立一个新的压力等级下的汽液平衡。多用于纯物质。
闪蒸, "FLASHING", 确实是从减压导致的汽液分离现象引申出的形象词汇,不过其严格定义适用的范围远不止此. 比较严格的定义是从一个热力学平衡态到下一个热力学平衡态变化的计算. 因此, 如果两个热力学状态的变化只有压力的降低, 并无内外功的交换和热的交换。
根据亨利定律P=EX,不同温度与分压下气相溶质在液相溶剂中溶解度不同。当溶剂压力降低时,溶剂中的溶质就会迅速地解吸而自动放出,形成闪蒸。闪蒸的能量由溶剂本身提供,故闪蒸过程中溶剂温度有所下降。从较高的一定压力到较低的一定压力,达到解吸平衡时解吸的溶质量是一定的,对应溶剂中剩余的溶质量也是一定的。所以闪蒸的控制目标只有一个,那就是闪蒸的压力。

以上就是关于闪蒸罐的作用和原理 ,闪蒸罐工作原理图解的全部内容,以及闪蒸罐的作用和原理 的相关内容,希望能够帮到您。
标签:
