冷凝器工作原理结构图及用途(这次是全网最简单明了的冷凝器原理讲解)
冷凝器工作原理结构图及用途(这次是全网最简单明了的冷凝器原理讲解)
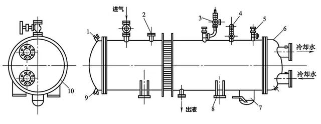
如图,这是我们上周提到的冷干机管壳式冷凝器的结构图。

管壳式冷凝器
管壳式冷凝器很容易被理解,只需了解冷却水走管程,制冷剂走壳程即可理解其工作原理。
这次主要分析板换式冷凝器的工作原理,以便于将两种冷凝器做一个对比。

板换式冷凝器(静态)

板换式冷凝器(动态)
相信运用静态、动态图片的结合,我们可以更好地理解板换原理。
观察上图,在冷干机水冷凝器中,红色流体可看作制冷剂,蓝色流体可看作冷却水。
1. 高温制冷剂从上方管口进入冷凝器,被温度低的冷却水降温,温度降低导致密度升高,密度升高的制冷剂会下沉,因此红色流体在图中表现为自上而下的流动。
2. 低温冷却水从下方管口进入冷凝器,被温度高的制冷剂升温,温度升高导致密度降低,密度降低的冷却水会上升,因此蓝色流体在图中表现为自下而上的流动。
另外,每片换热板有规律的以热-冷-热-冷做间隔,冷热流体不直接接触,而是通过换热板的间接接触达到换热效果。
板换式冷凝器在市场上的占比逐渐上升,他的优势相对管壳式确实更大,明天我们就来聊聊,这两种冷凝器的优缺点到底在哪里。

杭州力诺机械
,
标签:
