东莞虎门大桥是哪年开建的(虎门大桥投资30亿)
东莞虎门大桥是哪年开建的(虎门大桥投资30亿)
虎门大桥是中国广东省境内一座连接广州市南沙区与东莞市虎门镇的跨海大桥,位于珠江狮子洋之上, 为珠江三角洲地区环线高速公路南部联络线(原莞佛高速公路)的组成部分。

虎门大桥于1992年10月28日动工建设;于1997年6月9日建成通车;于1999年4月20日通过竣工验收。 虎门大桥东起东莞市太平立交,上跨狮子洋入海口,西至广州市南沙立交;线路全长15.76千米,主桥全长4588米,包括888m的悬索桥,跨径270m的连续刚构桥;桥面为双向六车道高速公路,设计速度120千米/小时;工程项目总投资额30.2亿元人民币。

虎门大桥投资者胡应湘先生承诺,虎门大桥投资收回之后无偿捐献给国家,至今已经25年了,虎门大桥的成本应该早已经回收了,为何虎门大桥还一直在收费呢?那么虎门大桥一年10亿的收入又是被谁给赚走了呢?
我们看到的都是这座大桥建成后带来的便利以及对周围经济带来的提升,但当时的筹建过程并不是看起来那么顺利。这个项目能够顺利进行,很大程度上都得益于胡应湘的坚持和无偿奉献。
当时广东的经济一定程度上受到交通的限制,在南沙区和东菀市之间,隔海相望,无论是日常的生活还是经济往来都无法直接的实现交通。这很影响效率,于是,胡应湘向当地政府提议提出要在这两地之间修建一座跨海大桥,既方便交通又能提高经济效率,但是由于当时国家发展状况并不良好。建设这样一座跨海大桥,在当时全世界都没有先例,没有可供参考的案例,桥跨度太长了,技术和构件以及资金都是一个问题,对于一个民营资本来说,无疑是赌上了全部的身家性命。在胡应湘的建议下,广东省和胡应湘签下了合作协议,决定建设虎门大桥。从签下协议那天起,胡应湘转转香港美国多地,筹集资金,历经5年时间,终于筹到了建设大桥所需的8亿美金。可以说,建设虎门大桥,是胡应湘人生中一次的冒险,在全世界的桥梁建设史上,也是一座丰碑。
虽然虎门大桥建成之后,在经济利益上获得了巨大的成功,但是胡应湘并没有食言,他后来还是准时把大桥交给了内地的合作方。
据官方统计,虎门大桥每天收300万过路费,虎门大桥一年大概有10亿的收入又是被谁给赚走了呢?
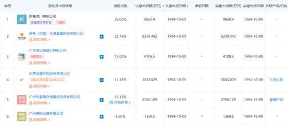
虎门大桥目前的管理方是广东省交通集团。运营公司则是广东虎门大桥有限公司,根据企业查询得知这家公司的法人跟董事长为孙楚文。股东分别为新粤虎门有限公司、越秀(中国)交通基建投资有限公司、广东省公路建设有限公司、东莞发展控股股份有限公司、广州市番禺交通建设投资有限公司以及广州市穗桥发展有限公司。其中新粤虎门有限公司,持股36%,是最大的股东。

其中新粤虎门有限公司跟越秀(中国)交通基建投资有限公司都是注册在外国的公司,前者注册地为英属维尔京群岛,后者注册地为百慕大群岛。是否为外资企业不得而知!
由于现有收费法规尚存空白,未明确经营性公路提前完成收费目标该如何处理,也未明确赚到何时才算合理回报。故虽然虎门大桥投资早已收回,但是依然存在收费现象!建议,定回报利润率的限值,只要达到了这个固定利润,即可认为已经达成了经营预期。
至于胡应湘先生所捐赠的股份是捐献给国家控股的公司,其收益用来桥梁运营、维护及其他地方投资。
虎门大桥收费到什么时候,以后会免费吗?
由于建设的时候,采用独立核算,自筹资金的方式,筹建新的项目公司进行建设和管理收费周期从1997年7月至2029年5月,到期之后应该就免费通行了!
,
标签:
