毕托管的使用方法
毕托管的使用方法
毕托管,又被称为皮托管,是一种借测量流体总压力与静压力之差值来计算流速的仪器。

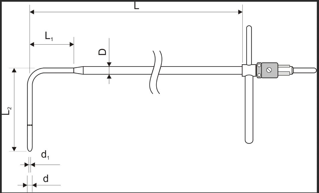
毕托管示意
如上图所示,毕托管有两根不同直径的304不锈钢圆管子同心套接而成,管子内部直通尾端部的接口为全压测试口,外管侧端接口为静压测试口。定向杆与毕托管椭圆头部的方向一致,使用时可以调节测试方向,使毕托管头部始终平行于气流的方向(如下图所示)。

毕托管测试的方法:
1、将压差计按下图的方法连上皮托管上。
2、压差计校零后将毕托管伸入风管中进行测试。
3、测试时应在该截面多取几组数据,求平均值来计算。

动压测试示意图

全压测试示意图

静压测试示意图
标签:
